Toyota CH-R Revue Technique: Circuit du signal de vitesse du véhicule entre l'ECU de navigation et le combiné d'instruments

Toyota CH-R Revue Technique / Navigation / Ecran Multifonction / Systeme De Navigation / Circuit du signal de vitesse du véhicule entre l'ECU de navigation et le combiné d'instruments

DESCRIPTION

L'ECU de navigation reçoit le signal de vitesse du véhicule transmis par l'ensemble de combiné d'instruments.

CONSEIL:

  • Une tension de 12 V ou 5 V est émise de chaque ECU vers l'ensemble de combiné d'instruments. Le signal est modifié en signal d'impulsion par le transistor situé dans l'ensemble de combiné d'instruments. Chaque ECU commande son système respectif sur la base de ce signal d'impulsion.
  • En cas de court-circuit dans n'importe laquelle des ECU ou dans le faisceau de câbles branché sur une ECU, aucun des systèmes repris dans le schéma suivant ne fonctionnera normalement.

SCHEMA DE CABLAGE

MESURE DE PRECAUTION / REMARQUE / CONSEIL

REMARQUE:

  • Selon les pièces qui sont remplacées lors de la vérification ou l'entretien du véhicule, procéder à l'initialisation, l'enregistrement ou le calibrage peut être nécessaire. Se reporter aux mesures de précaution pour le système de navigation.

    Cliquer ici

  • En cas de remplacement de l'ensemble de récepteur de radio et d'affichage ou de l'ECU de navigation, toujours le remplacer par un élément neuf. Si un ensemble de récepteur de radio et d'affichage ou une ECU de navigation précédemment posé sur un autre véhicule est réutilisé, ce qui suit peut se produire:
    • Un DTC de dysfonctionnement de communication peut être enregistré.
    • L'ensemble de récepteur de radio et d'affichage ou l'ECU de navigation peut ne pas fonctionner correctement.

PROCEDURE

1.

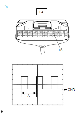
VERIFIER L'ENSEMBLE DE COMBINE D'INSTRUMENTS (FORME D'ONDE DE SORTIE)

(a) Vérifier la forme d'onde de sortie.

(1) Déposer l'ensemble de combiné d'instruments en laissant le(s) connecteur(s) branché(s).

(2) Brancher un oscilloscope sur la borne F4-6 (+S) et la masse de carrosserie.

(3) Mettre le contacteur du moteur en position ON (IG).

(4) Faire tourner lentement une roue.

(5) Vérifier la forme d'onde du signal en fonction de la (des) condition(s) reprise(s) dans le tableau ci-dessous.

Elément

Condition

Borne de mesure

F4-6 (+S) - Masse de carrosserie

Réglage de l'appareil

5 V/DIV., 20 ms/DIV.

Conditions de fonctionnement du véhicule

Une roue est tournée

OK:

La forme d'onde est identique à celle indiquée sur le schéma.

CONSEIL:

Lorsque le système fonctionne normalement, un tour de roue génère 4 impulsions. A mesure que la vitesse du véhicule augmente, la largeur indiquée par (A) dans le schéma diminue.

*a

Pièce constitutive avec faisceau de câbles branché

(ensemble de combiné d'instruments)

INCORRECT

PASSER AU SYSTEME DES COMPTEURS ET DES JAUGES

OK

2.

VERIFIER LE FAISCEAU DE CABLES ET LE CONNECTEUR (ECU DE NAVIGATION - ENSEMBLE DE COMBINE D'INSTRUMENTS)

(a) Débrancher le connecteur F135 de l'ECU de navigation.

(b) Débrancher le connecteur de l'ensemble du combiné d'instruments F4.

(c) Mesurer la résistance en fonction de la (des) valeur(s) indiquée(s) dans le tableau ci-dessous.

Résistance standard:

Branchement du tester

Condition

Condition spécifiée

F135-9 (SPD) - F4-6 (+S)

En permanence

En dessous de 1 Ω

OK

PASSER A L'ORGANE INCRIMINE SUIVANT INDIQUE DANS LE TABLEAU DES SYMPTOMES DE PROBLEMES

INCORRECT

REPARER OU REMPLACER LE FAISCEAU DE CABLES OU LE CONNECTEUR

    Circuit du signal de marche arrière
    DESCRIPTION L'ensemble d'autoradio et de système d'affichage reçoit un signal de marche arrière en provenance du contacteur de position de stationnement/point mort. SCHEMA DE CABLAG ...

    Circuit du signal de démarrage entre l'ensemble d'autoradio et l'ECU de navigation
    DESCRIPTION Ce circuit se compose de l'ECU de navigation et l'ensemble d'autoradio et d'affichage. SCHEMA DE CABLAGE PROCEDURE 1. VERIFIER LE FAISCEAU DE C ...

    Autres matériaux::

    Toyota CH-R Revue Technique > Ensemble De Siege Avant: Mesures De Precaution
    MESURES DE PRECAUTION CONSEIL: Les procédures suivantes sont utilisées pour éviter toute formation de pli lors de la pose de la housse de siège. Veiller à respecter les procédures correctement. La forme du siège indiqué sur le schéma peut différer du siège ...

    Toyota CH-R Revue Technique > Ensemble De Siege Arriere: Pieces Constitutives
    PIECES CONSTITUTIVES SCHEMA *A pour côté gauche *B pour côté droit *1 ENSEMBLE D'ASSISE DE SIEGES ARRIERE DE TYPE BANQUETTE *2 ENSEMBLE D'APPUIE-TETE DE SIEGE CENTRAL ARRIERE ...

    Toyota C-HR (AX20) 2023-2025 Notice d'utilisation

    Toyota CH-R Notice d'utilisation

    Toyota CH-R Revue Technique

    © 2017-2026 www.tochrfr.com
    0.0102